Prefabricated UHPC corrugated plate-concrete composite bridge deck slab and construction method thereof
(10) CN119686216
(22) 09.01.2025
(43) 25.03.2025
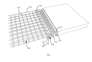
(57) The invention provides a prefabricated UHPC corrugated plate-concrete laminated bridge deck slab, and relates to the technical field of building structures, the prefabricated UHPC corrugated plate-concrete laminated bridge deck slab comprises a plurality of first layers prefabricated by pouring ultra-high performance concrete, and second layers poured on the first layers in situ; a large number of formwork erecting and dismantling on a construction site are reduced, and use of a large number of materials such as formworks and steel pipe supports is reduced; meanwhile, the plurality of corrugated first layers are arranged, so that the self weight of the whole bridge deck can be effectively reduced; and due to the corrugated arrangement and the gaps between the multiple second layers, better connection strength ...
(71) Basha, Seyed, Homayoun; Wu Yujie; Hu Hongsong, CN
