Striated fiber-based concrete reinforcement
(10) US 2022/0098099 Al
(22) 10.01.2020
(43) 31.03.2022
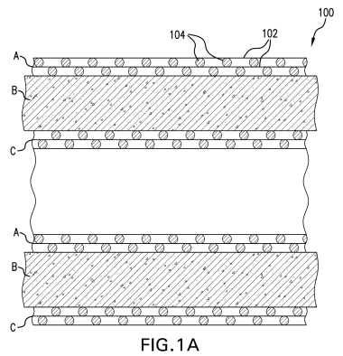
(57) A composite structure includes a concrete matrix and a fiber embedded in the concrete matrix. The fiber includes steel. A surface of the fiber has a series of striations. The series of striations are arranged in a striation pattern.
(71) The Regents of the University of Michigan, Ann Arbor, MI (US)
