Concrete decorating and embossing device
(11) EP 3 981 565 Al
(22) 03.10.2019
(43) 13.04.2022
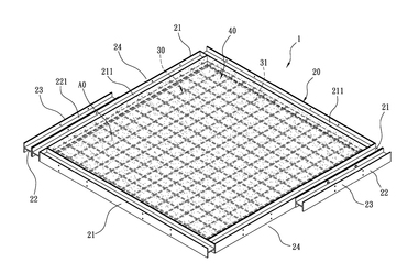
(57) A concrete decorating embossing material (1) is provided. The concrete decorating embossing material (1) comprises a substrate (2) including a reverse structure (4) which is a reverse of an uneven pattern to be formed on a concrete surface, and cure retardant layer elements (3) which are formed in portions of the surface of the substrate (2) on which the reverse structure (4) is formed, and comprise a resin composition mixed with a concrete cure retardant. The concrete decorating embossing material (1) includes a texture pattern of the cure retardant layer elements (3) on the substrate (2).
(71) Toppan Printing Co., Ltd. Tokyo 110-0016 (JP)
