wir alle erleben sowohl in unserem beruflichen als auch im privaten Alltag eine sich schnell verändernde Welt, in der Klimaschutzbelange (Dekarbonisierung, Kreislaufwirtschaft) und Digitalisierung zum...
Sehr geehrte Hersteller und Branchenpartner für vorgefertigte Betonbauteile,nach fast zwei Jahren begrüßen wir als Veranstalter des 23. Internationalen BIBM-Kongresses in Kopenhagen zu einem der...
In diesem Jahr blickt B.T. innovation GmbH in Magdeburg auf 30 Jahre Unternehmensgeschichte zurück. Das Unternehmen würdigte diesen Anlass mit einer Jubiläumsfeier am 01.09.2021, zu der zahlreiche...
Mit dem Reaktionsharzmörtel Silikal R 17 und dem Kleber Silikal R 90 lassen sich Bordsteine und Verkehrsinseln schnell und dauerhaft verkleben. Diese Silikal-Produkte erfüllen wichtige Forderungen des...
Schon die alten Römer kannten die Vorzüge von Beton. Heute ist dieser aus dem modernen Hoch- und Tiefbau nicht mehr wegzudenken. Hauraton macht den Baustoff jetzt noch leistungsfähiger für die moderne...
Aktuell entsteht zwischen den Inseln Usedom und Wollin in der Stadt Swinemünde der bisher längste Unterwassertunnel in Polen, der Swinetunnel. Die Unterquerung des Flusses Swine soll die Küstenregion...
Der Betonfertigteilhersteller Minskmetrostroy ist für den Bau der U-Bahn in Minsk (Belarus) zuständig. Man hat in eine Modernisierung der laufenden Produktion und Erweiterungen des Werks investiert...
Die Fuchs Fertigteilwerke GmbH ist ein familiengeführtes Traditionsunternehmen mit mehr als 75 Jahren Erfahrung in der Herstellung, im Vertrieb und in der Entwicklung von Betonfertigteilen. Bereits im...
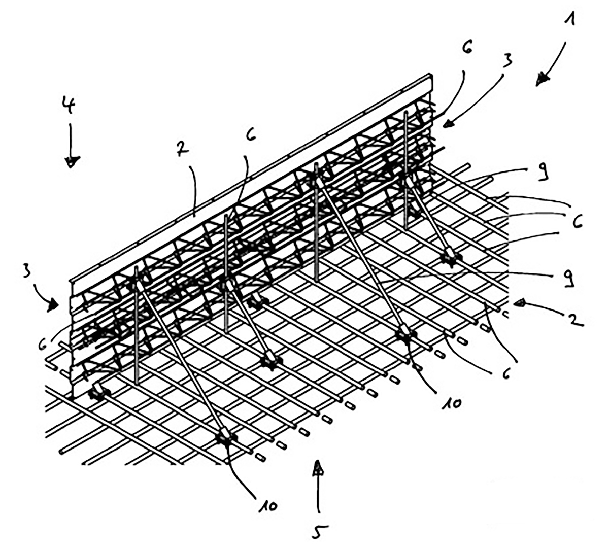
Eurobend bietet unabhängig von Größe und Anwendung Lösungen für annähernd alle Betonfertigteilwerke mit den gut eingeführten und innovativen Mattenschweißlinien der Baureihen PL XY und PL AMM für die...
Optisch ein Highlight, bauphysikalisch energieeffizient: Die Ansprüche des Bauherren Marcus Riedelsheimer GmbH an das eigene neue Betonfertigteilwerk waren hoch. Die Lösung, um die ästhetische Fassade...
Die August Lücking GmbH & Co. KG ist eines der führenden baustoffproduzierenden Unternehmen im Dreiländereck Nordrhein-Westfalen, Hessen und Niedersachsen. Jährlich werden ca. 300.000 m²...
Anfang 2021 nahm die Firma Kilsaran ihr neues Fertigteilwerk in Kilcullen im irischen County Kildare in Betrieb. Das Werk verfügt landesweit über den höchsten Automatisierungsgrad. Kilsaran ist der...
Jisan gehört zu den wachstumsstärksten Betonfertigteilherstellern in Südkorea und ist in der Lage, schlüsselfertige Lösungen durch weitreichende Verwendung von Betonfertigteilen äußerst...
Die 66. BetonTage finden vom 22. bis 24. Februar 2022 am neuen Standort im Congress Center in Ulm statt. Ein hochkarätiges Fachprogramm mit Beiträgen aus Wissenschaft und Praxis erwarten die...