Wirtschaftliche Rückgänge und geografische Verwerfungen durch Kriege und Krisen bestimmen die Medien. Auch die Bauwirtschaft und das Bauen mit vorgefertigten Betonbauteilen sind massiv vom Rückgang...
Mit Muro ReNature führt Kann die Nachhaltigkeitsphilosophie hinter dem preisgekrönten Recyclingstein Vios RX40 fort. Optischer Clou: Die raffiniert sichtbare Recyclingkörnung verleiht den...
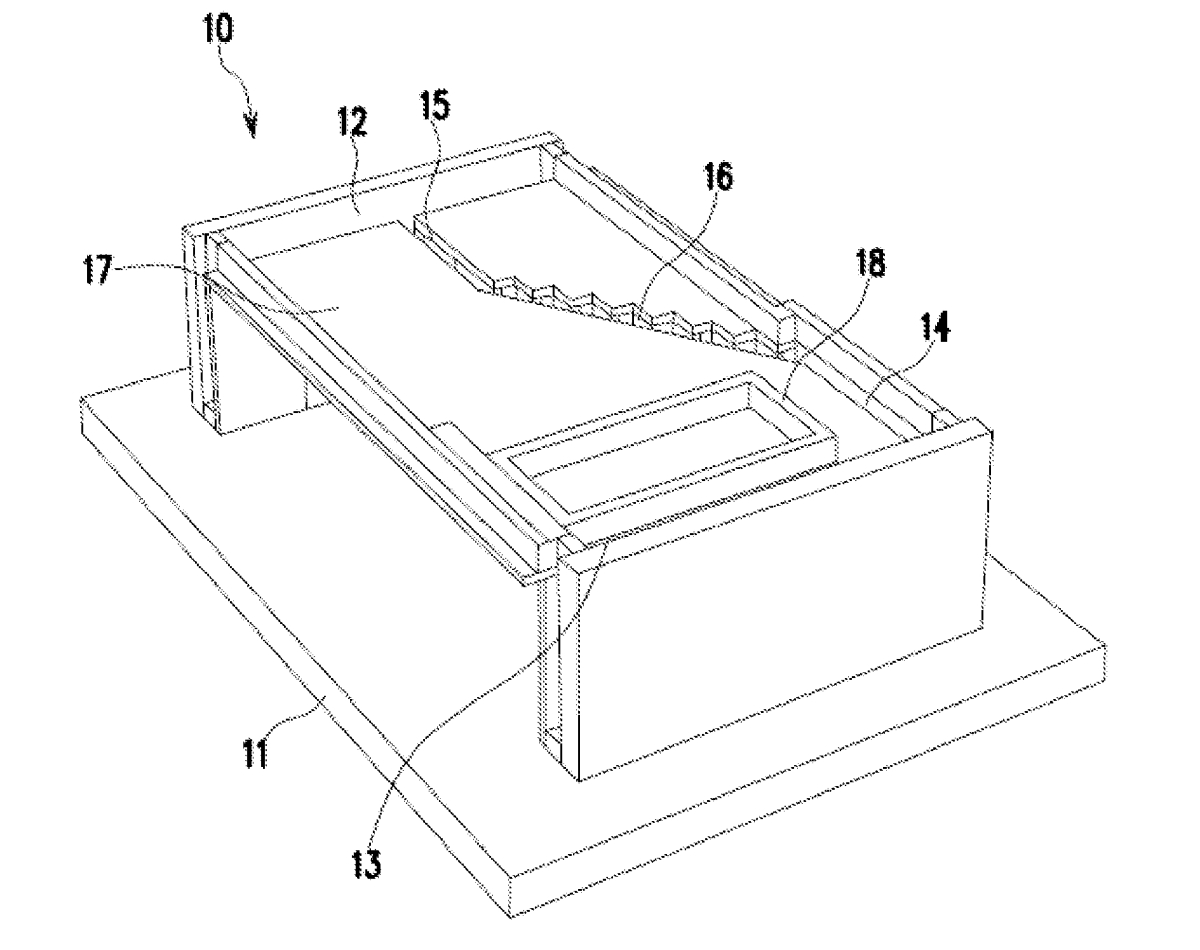
Bei der Sanierung von Durchlässen steht in der Regel ein zentrales Ziel im Mittelpunkt: Um den Bahnverkehr so wenig wie möglich zu stören, sind die Sperrzeiten, bei denen der Bahnverkehr zu ruhen hat,...
Die Thomas Gruppe ist eines der größten mittelständischen, familiengeführten Unternehmen der Baustoffbranche in Deutschland und bietet ihren Kunden Betonfertigteile, Transportbeton und Zement im In-...
Vom 13. bis 17. Januar präsentiert sich Peikko, ein weltweit führender Hersteller von Slim-Floor-Konstruktionen und Verbindungstechnik für den Fertigteil- und Ortbetonbau, auf der weltweit führenden...
Die Betonwerk Carl Plötner GmbH, ein renommierter Anbieter für hochwertige Betonprodukte, hat die Effizienz und Qualität seiner Betonmischanlagen weiter gesteigert. Bei der Modernisierung der...
Erst kürzlich modernisierte A 2C Préfa, führender französischer Betonfertigteilhersteller, seine Produktionstechnik im Werk Sivry-Courtry. Dabei war v. a. Teka France federführend, die einen Teka...
Die Firma Rembeck hat sich in den letzten Jahrzehnten als ein führendes Unternehmen im Bereich des Bauens mit Betonfertigteilen in Südbayern etabliert. Bereits vor über 30 Jahren hat das Unternehmen...
Mit einem Investitionsvolumen von 32,5 Mio. Euro hat die Vandersanden Group im belgischen Lanklaar ein neues Werk zur Produktion von Pirrouet-Fassadensteinen errichtet. Das Herzstück der Pilotanlage...
Pionier für innovative FaserverbundlösungenDie CG Tec Carbon und Glaserfasertechnik GmbH mit Sitz in Spalt bei Nürnberg blickt auf eine erfolgreiche und über 25-jährige Firmengeschichte als...
Der in der Nähe von Tiflis im kaukasischen Georgien beheimatete Marktführer für die Herstellung einer breiten Palette von Betonfertigteilen, hat die neu entwickelte Schweißanlage ERM-ECO des...
Im ersten Teil dieses Fachaufsatzes wurden die Befestigungen unter Ermüdungsbeanspruchung sowie die Bestimmung der charakteristischen Ermüdungswiderstände von Verbindungselementen vorgestellt (Teil 1...
Das Zertifizierungsprogramm Sustainable Precast (SPC), das die Branche auf ihrem Weg in eine nachhaltige Zukunft begleitet, wurde bereits ausführlich in unserer Ausgabe 04/2024 vorgestellt. Im Rahmen...
Zuversichtlich zeigten sich die rund 360 Expertinnen und Experten aus der Betonfertigteilindustrie bei den Engineering Days 2024 im Salzburg Congress. Am 26. und 27. November diskutierten die...
Kunden und Partner aus der ganzen Welt waren am 25. September 2024 zu der Hausmesse bei QGM in Quanzhou, China, eingeladen. Viele Interessierte nahmen die Einladung an und bekamen die Gelegenheit, die...
Der Bundesverband Spannbeton-Fertigdecken e.V. hat gemeinsam mit dem Bundesverband der Gipsindustrie e. V., der Adolf Würth GmbH & Co. KG, Hilti Deutschland AG und der ITW Befestigungssysteme GmbH...
Die Kronimus AG Betonsteinwerke mit Sitz in Iffezheim ist das erste Unternehmen, das mit dem Sustainable Precast Nachhaltikeitszertifikat ausgezeichnet wurde und erwarb das Zertifikat in jeweils...
Die Beton- und Fertigteilindustrie steht zunehmend vor der Herausforderung, Nachhaltigkeit und Effizienz miteinander zu verbinden. Die steigenden Energiepreise und die verstärkte Volatilität der...
Nach über 30 Jahren sehr erfolgreicher Verbandstätigkeit für den Betonverband Straße, Landschaft, Garten e. V. (SLG) wurde Geschäftsführer Dietmar Ulonska offiziell in den Ruhestand verabschiedet. Die...