x

Thematisch passende Artikel:

Ausgabe 09/2012

Pflasterstein mit Natursteinoptik sowie Vorrichtung zu dessen Herstellung

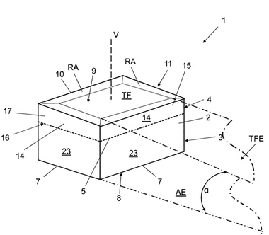
(10) DE 10 2006 059 205 84 (22) 13.12.2006 (43) 21.06.2007 (73)  EHL AG, 56642, Kruft, DE (57) Hauptanspruch: Künstlicher Pflasterstein mit Natursteinoptik, wobei der Pflasterstein (1) eine...

mehr
Ausgabe 04/2011 Neue Mischtechnologie

Der Pflasterstein des Anstoßes

Für die Herstellung von Vorsatz- und Kernbeton wurde in der Vergangenheit ein Ringtrogmischer verwendet, der den hohen Ansprüchen an die Betonqualität nicht mehr gerecht wurde. Die Anforderungen an...

mehr
Ausgabe 07/2024 KANN BAUSTOFFWERKE

Klimastein für bewährte Baustoffqualitäten bei hoher CO2-Einsparung

Neben dem mit dem Blauen Engel ausgezeichneten Recyclingpflaster RX40 ergänzt Kann aus Bendorf sein Produktportfolio um den Pflasterstein „ProKlima“, bei dem die CO2-Emissionen um 65 % gegenüber...

mehr