• Facebook
  • Twitter
  • YouTube
  • DE
  • EN
  • Kontakt zur Redaktion
  • Newsletter abonnieren
  • Mediadaten
Betonwerk Fertigteil-Technik
  • Home
  • Themen
    • Formen und Schalungen
    • Tiefbau
    • Mischtechnik
    • Fertigteilherstellung
    • Nachhaltigkeit
    • Spannbeton
    • Anlagentechnik
    • Porenbeton
    • Befestigungs- und Bewehrungstechnik
  • BFT Magazin
    • Aktuelle Ausgabe
    • Archiv
  • Termine
  • BFT Datenbank
  • Jobs
  • Abo
  • Home

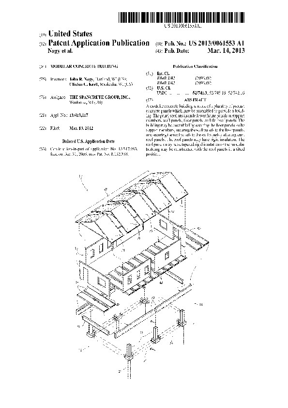
Modulares Betongebäude

Mehr erfahren Sie in

BFT 05/2013

Mehr erfahren Sie in

BFT 05/2013

Ressort:  Patents | Patente
Abonnement Inhaltsverzeichnis
  • Facebook
  • X Twitter
  • XING
  • LinkedIn
News
  • 04.02.2026 | Thomas Concrete Group expandiert in den USA
  • 02.02.2026 | 10-jähriges Jubiläum für den FDB-Förderpreis für Studierende an der Hochschule Bochum
  • 29.01.2026 | Co-reactive sichert 6.5 Mio. € Seed-Finanzierung für klimaneutrale Baustofftechnologie
  • 26.01.2026 | Nord‑West‑Umfahrung Meran, Küchelbergtunnel und Kavernengarage: Präzise Betonlogistik für den Tunnelbau
  • 22.01.2026 | Bundesfachverband Betonkanalsysteme (FBS) wird Teil des Innovationsnetzwerks Solid Unit
Company Logos
Social Media
BFT auf facebook BFT auf facebook
BFT auf YouTube BFT auf Youtube
BFT auf Twitter BFT auf twitter
Newsletter
BFT Newsletter
  • » News & Fachinformationen für die Betonfertigteilbranche
  • » 1 x im Monat
  • » Kostenlos und jederzeit kündbar

Beispiele, Hinweise: Datenschutz, Analyse, Widerruf

BFT Jobs
Mehr Stellen
Media-Informationen Screenshot of Media Kit Hier finden Sie die aktuellen Mediadaten
Jahrbuch Beton Bauteile Jahrbuch Beton Bauteile

Jetzt bestellen!

Betonfertigteile sind längst mehr als präzise gefertigte Bauelemente. Sie stehen für Wandel: technologisch, gesellschaftlich und kulturell. Wo früher vor allem Funktionalität und Effizienz galten, zeigen sich heute Vielfalt, Feingefühl und der Mut, mit einem vertrauten Material neue Wege zu gehen. In diesem Jahrbuch begegnen wir Projekten, die beispielhaft verdeutlichen, wie weit dieser Wandel bereits reicht:
Bestellen Sie jetzt Ihr persönliches Exemplar unter www.beton-bauteile.de oder schreiben Sie uns eine E-Mail an

mehr
Termine Termine Hier finden Sie eine Auswahl von aktuellen Terminen
Unsere Partner Verbände und Organisationen
Service Service

Aktuelle Ausgabe

Mediadaten

Abo-Shop

Heftarchiv

Anbieter finden Logo Beja

Finden Sie mehr als 4.000 Anbieter in der BFT Anbieterdatenbank!

  • Newsletter
  • Mediadaten
  • AGB
  • Datenschutz
  • Impressum
Content Management by InterRed
Bauverlag.de