• Facebook
  • Twitter
  • YouTube
  • DE
  • EN
  • Kontakt zur Redaktion
  • Newsletter abonnieren
  • Mediadaten
Betonwerk Fertigteil-Technik
  • Home
  • Themen
    • Formen und Schalungen
    • Tiefbau
    • Mischtechnik
    • Fertigteilherstellung
    • Nachhaltigkeit
    • Spannbeton
    • Anlagentechnik
    • Porenbeton
    • Befestigungs- und Bewehrungstechnik
  • BFT Magazin
    • Aktuelle Ausgabe
    • Archiv
  • Termine
  • BFT Datenbank
  • Jobs
  • Abo
  • Home

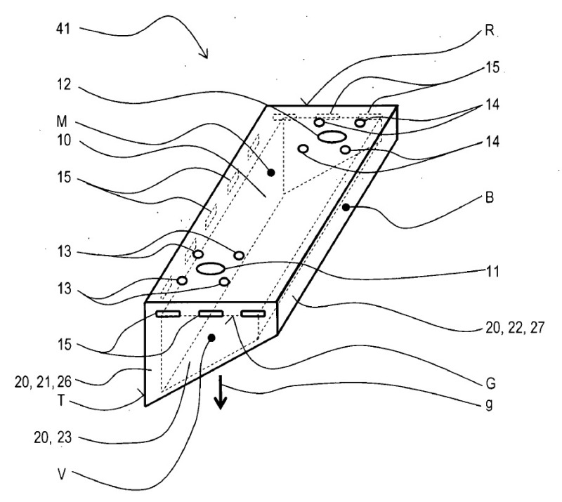
Betonfertigteil und Kontrolleinrichtung mit
einem solchen Betonfertigteil

Mehr erfahren Sie in

BFT 08/2016

Mehr erfahren Sie in

BFT 08/2016

Ressort:  SERVICE | SERVICE
Abonnement Inhaltsverzeichnis
  • Facebook
  • X Twitter
  • XING
  • LinkedIn

Thematisch passende Artikel:

Ausgabe 11/2017

Betonfertigteil und Kontrolleinrichtung mit einem solchen Betonfertigteil

mehr
News
  • 18.05.2026 | FCN GaLaBau Partnertage 2026 mit großem Zuspruch
  • 13.05.2026 | HDB wählt Olaf Demuth zum Präsidenten
  • 11.05.2026 | Goldbeck, Holcim und Paebbl realisieren ersten CO₂-speichernden Industrieboden
  • 07.05.2026 | SLG und Maxim Winkler veröffentlichen Podcast zum Thema „Alles über Betonsteine“
  • 04.05.2026 | Heidelberg Materials Mineralik und Steinag gründen Joint Venture „Volcano“
Company Logos
Social Media
BFT auf facebook BFT auf facebook
BFT auf YouTube BFT auf Youtube
BFT auf Twitter BFT auf twitter
Newsletter
BFT Newsletter
  • » News & Fachinformationen für die Betonfertigteilbranche
  • » 1 x im Monat
  • » Kostenlos und jederzeit kündbar

Beispiele, Hinweise: Datenschutz, Analyse, Widerruf

BFT Jobs
Mehr Stellen
Media-Informationen Screenshot of Media Kit Hier finden Sie die aktuellen Mediadaten
Jahrbuch Beton Bauteile Jahrbuch Beton Bauteile

Jetzt bestellen!

Betonfertigteile sind längst mehr als präzise gefertigte Bauelemente. Sie stehen für Wandel: technologisch, gesellschaftlich und kulturell. Wo früher vor allem Funktionalität und Effizienz galten, zeigen sich heute Vielfalt, Feingefühl und der Mut, mit einem vertrauten Material neue Wege zu gehen. In diesem Jahrbuch begegnen wir Projekten, die beispielhaft verdeutlichen, wie weit dieser Wandel bereits reicht:
Bestellen Sie jetzt Ihr persönliches Exemplar unter www.beton-bauteile.de oder schreiben Sie uns eine E-Mail an

mehr
Termine Termine Hier finden Sie eine Auswahl von aktuellen Terminen
Unsere Partner Verbände und Organisationen
Service Service

Aktuelle Ausgabe

Mediadaten

Abo-Shop

Heftarchiv

Anbieter finden Logo Beja

Finden Sie mehr als 4.000 Anbieter in der BFT Anbieterdatenbank!

  • Newsletter
  • Mediadaten
  • AGB
  • Datenschutz
  • Impressum
Content Management by InterRed
Bauverlag.de
vb0jfKaTl3Z77rOdiYDtFkD84fhApzUMQiea_Yb8j7A=.html