• Facebook
  • Twitter
  • YouTube
  • DE
  • EN
  • Kontakt zur Redaktion
  • Newsletter abonnieren
  • Mediadaten
Betonwerk Fertigteil-Technik
  • Home
  • Themen
    • Formen und Schalungen
    • Tiefbau
    • Mischtechnik
    • Fertigteilherstellung
    • Nachhaltigkeit
    • Spannbeton
    • Anlagentechnik
    • Porenbeton
    • Befestigungs- und Bewehrungstechnik
  • BFT Magazin
    • Aktuelle Ausgabe
    • Archiv
  • Termine
  • BFT Datenbank
  • Jobs
  • Abo
  • Home

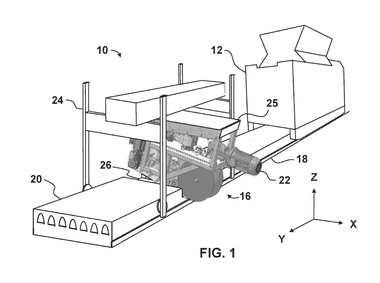
Bewehrung für einen Verbinder in einer vorgefertigten Betonplatte 

Dieser Artikel erschien in

BFT 01/2025

Dieser Artikel erschien in

BFT 01/2025

Ressort:  Patents | Patente
Abonnement Inhaltsverzeichnis
  • Facebook
  • X Twitter
  • XING
  • LinkedIn
x
BFT Newsletter
  • » aktuelle Themen und Termine aus der Betonfertigteilbranche
  • » monatliche Erscheinungsweise
  • » kostenlos und jederzeit kündbar

Beispiele, Hinweise: Datenschutz, Analyse, Widerruf

Thematisch passende Artikel:

Ausgabe 04-2022/2022

Bewehrung für einen Verbinder in einer Fertig- betonplatte

mehr
Ausgabe 11/2018

Einsatz zum Heben und Nivellieren einer vorgefertigten Betonplatte

mehr
Ausgabe 02/2026

Verbesserungen bei der freitragenden Verbindung einer vorgefertigten Betonplatte mit einem Betonbauelement

mehr
Ausgabe 03/2026

Verfahren und System zum Schneiden eines Kanals in einer vorgefertigten, nicht ausgehärteten Betonplatte

mehr
Ausgabe 05/2025

Baugruppe zur Montage und Verankerung von vorgefertigten Stahlbetonwandplatten auf einer Betonplatte oder einer Deckenplatte und ...

mehr
News
  • 07.05.2026 | SLG und Maxim Winkler veröffentlichen Podcast zum Thema „Alles über Betonsteine“
  • 04.05.2026 | Heidelberg Materials Mineralik und Steinag gründen Joint Venture „Volcano“
  • 29.04.2026 | Umweltdaten als Wettbewerbsvorteil: Emidat veranstaltet den Climate-Native Summit 2026
  • 27.04.2026 | Glatthaar Gruppe übernimmt Beton-Fertigteil-Union
  • 24.04.2026 | Peri 3D Construction ist neues Mitglied bei Solid Unit
Company Logos
Social Media
BFT auf facebook BFT auf facebook
BFT auf YouTube BFT auf Youtube
BFT auf Twitter BFT auf twitter
Newsletter
BFT Newsletter
  • » News & Fachinformationen für die Betonfertigteilbranche
  • » 1 x im Monat
  • » Kostenlos und jederzeit kündbar

Beispiele, Hinweise: Datenschutz, Analyse, Widerruf

BFT Jobs
Mehr Stellen
Media-Informationen Screenshot of Media Kit Hier finden Sie die aktuellen Mediadaten
Jahrbuch Beton Bauteile Jahrbuch Beton Bauteile

Jetzt bestellen!

Betonfertigteile sind längst mehr als präzise gefertigte Bauelemente. Sie stehen für Wandel: technologisch, gesellschaftlich und kulturell. Wo früher vor allem Funktionalität und Effizienz galten, zeigen sich heute Vielfalt, Feingefühl und der Mut, mit einem vertrauten Material neue Wege zu gehen. In diesem Jahrbuch begegnen wir Projekten, die beispielhaft verdeutlichen, wie weit dieser Wandel bereits reicht:
Bestellen Sie jetzt Ihr persönliches Exemplar unter www.beton-bauteile.de oder schreiben Sie uns eine E-Mail an

mehr
Termine Termine Hier finden Sie eine Auswahl von aktuellen Terminen
Unsere Partner Verbände und Organisationen
Service Service

Aktuelle Ausgabe

Mediadaten

Abo-Shop

Heftarchiv

Anbieter finden Logo Beja

Finden Sie mehr als 4.000 Anbieter in der BFT Anbieterdatenbank!

  • Newsletter
  • Mediadaten
  • AGB
  • Datenschutz
  • Impressum
Content Management by InterRed
Bauverlag.de
GxjCQZGp9GYk9QiOH2z1wASKPRU8C1MbzTooZrP3KQE=.html